栏目导航
-
布袋除尘器
产品分类:脉冲式 / 布袋除尘设备
产品规格:
来源:安徽凯发k8国际首页登录环境科技有限公司
订购热线:13905655307
1 布袋除尘器介绍
该设备结构合理,体积小,保养维修简单,运行费用低廉。特别适合亚微米级的粉尘的净化,是旧式除尘设备的升级换代产品。广泛应用于机械打磨、化工、建筑、材料、医药、电子、涂料、木器加工等行业生产环境中的粉尘净化处理。
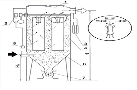
2 布袋除尘器的结构
1、设备外型结构:整体结构严密,连续焊接的板材可防止粉尘的泄露,除尘器尺寸可以按照客户要求设计。设备壳体采用酸洗喷漆防腐表面处理工艺,外观美观,防腐性能好。
2、设备内部结构:由除尘室、集尘斗、反吹器和净化气流室四部分结构组成。
3、电控系统:控制柜除了对电源的闭合和风机的启动、关机控制外,主要是采用先进的PLC程序控制器对反吹系统中每一对布袋的电磁阀的闭合与持续时间分别进行循环顺序的控制,同时显示设备的运行和各个电磁阀的工作状况。保证设备的正常和可靠的运转,使布袋除尘器保持较高的过滤效率。
4、收灰系统的设计:布袋除尘器具有清灰方便、操作简单等特点。设备下方接收灰小车,方便清理。
5、设备的安装
布袋除尘器结构为轻钢结构,因此设备安装对地基的要求不高,不需要做深层地基,只要求达到生产车间地面的地基要求即可。安装时地基的支撑点要找齐垫平。
含尘气流由侧优良进入除尘器内,粉尘被布袋外表面“截流”并聚集起来,净化后的气流从布袋中心部流出排放,达到净化目的。清洁布袋是利用压缩空气(0.6~0.7MPa)产生强大的气流通过脉冲电磁阀释放出来至布袋中心部,如同振动一样将布袋外表面聚集的粉尘震荡及喷吹下来并落到下面的灰斗内。为确保布袋除尘器正常连续运转,由PLC控制系统按设定程序进行反吹。
1、净化效率高、占地空间小。除尘器选用了现有滤料中效率头等的滤料制作的布袋,对于亚微米以上的粉尘的除尘效率高达99.99%.同时每个布袋面积为2m2,其过滤面积大减少了占地面积和钢结构体积;其摆放位置可以放在室内或室外,排放均可达到环保要求。
2、使用寿命长,运行费用低。由于高效率,低风速粉尘不会穿透深入到滤材的内部,有利于使粉尘在反向空气脉冲清灰过程中轻而易举地脱落,从而保证布袋的使用寿命,同时,设备运行阻力为500~800Pa,初阻力为200Pa以下,头等阻力为1200 Pa,运行阻力小,节约能源,运行费用低。
3、设备运行可靠、维护简单。设备选用布袋过滤风速为1.8m/min,大大降低了粉尘因摩擦产生着火及爆炸的现象。为方便布袋的清理和更换。
布袋除尘器生产制造质量体系符合ISO9001标准,产品达到中国的环保、消防、可靠和机械制造等相关标准及规范。
出口排尘浓度达到《大气污染物排放标准》排放标准。
除尘器布袋保用2~3年。
除尘器阻力≤1200Pa。
全数本体结构均做除锈、除油处理。
各型除尘器整体结构严密。
除尘设备的整体噪音<80dC(A),瞬间噪音<85 dC(A)。
6主要配件说明
1.布袋
l材质:
微纤维纸+聚脂材质复合介质可以增加强度、提高粉尘过滤效率;
l特点:
抗温能力:230℃,抗油、抗水、抗酸能力好,强度高、清灰性能好。
l效率:
对于0.5微米粉尘颗粒净化效率可达99.99%,过滤颗粒可高达0.2微米。
l规格:φ160×2500㎜。
2.电磁阀
特点
选用插接式脉冲阀易于现场安装、拆卸为帮助粉尘收集而特别设计,具有高流量、寿命长、快速开或关。确保可靠,更可产生头家的脉冲能力不受气量限制,具有极好的脉冲清灰效果阀体和盖板配有不锈钢的压铸铝合金高级、长时间使用有保障,同时防止外面粉尘进入内部。
技术参数
使用压力:0.5~0.7Car 可靠压力:10 Car
环境温度:-20℃~85℃ 可防止流体在过低温度之下发生固化破坏
3. 笼架
特点:全数的焊点均匀焊接牢固,不允许有脱焊、虚焊或漏焊;(用拉力计测量焊点的强度,焊点在250KN的拉力下不得发生脱焊现象,另外也可以将圆袋笼式框架一端固定,将另一端扭至60°保持15s,然后放松,框架能正常恢复,并无脱焊现象。)
4.压差表
特点:
体积小、容易安装固定、操作简单、便于调节,具有足够的精度
技术参数
环境温度范围:-6.67~48.9℃ 精度:±5%范围尺寸:77.70㎜×98.43㎜ 指针指示测量值
布袋除尘器参数选型表(拼装式)
|
布 袋 除 尘 设 备 参 数 |
||||||||||
|
型号 |
建议风机功率(kw) |
风量(m³/h) |
进出风口(mm) |
电磁阀 |
泄爆片 |
过滤风速(m/min) |
过滤面积(m²) |
滤袋规格(mm) |
箱体内尺寸(mm) |
|
|
AL-7.5 |
7.5 |
5000 |
∅300 |
1寸*6个 |
2片 |
2.96 |
28 |
∅140*1500* 42条 |
1400*1300*4200 |
|
|
AL-11 |
11 |
10000 |
∅400 |
1寸*8个 |
3片 |
2.96 |
56 |
∅140*2000* 64条 |
1600*1600*4850 |
|
|
AL-15 |
15 |
13000 |
∅450 |
1寸*8个 |
3片 |
3.08 |
70 |
∅140*2000* 80条 |
2000*1600*4850 |
|
|
AL-18.5 |
18.5 |
15000 |
∅500 |
1寸*10个 |
3片 |
2.84 |
88 |
∅140*2000* 100条 |
2000*2000*5150 |
|
|
AL-22 |
22 |
20000 |
∅550 |
1.5寸*10个 |
3片 |
3.15 |
106 |
∅140*2000* 120条 |
2400*2000*5150 |
|
|
AL-30 |
30 |
28000 |
∅600 |
1.5寸*10个 |
3片 |
2.94 |
158 |
∅140*3000* 120条 |
2400*2000*6950 |
|
|
AL-37 |
37 |
32000 |
∅650 |
1.5寸*12个 |
3片 |
2.81 |
190 |
∅140*3000* 144条 |
2400*2400*6950 |
|
|
AL-45 |
45 |
40000 |
∅750 |
1.5寸*14个 |
4片 |
3.01 |
222 |
∅140*3000* 168条 |
2800*2400*6950 |
|
|
AL-55 |
55 |
50000 |
∅850 |
1.5寸*18个 |
5片 |
2.92 |
285 |
∅140*3000* 216条 |
3600*2400*6950 |
|
|
AL-75 |
75 |
70000 |
∅1000 |
1.5寸*24个 |
6片 |
3.07 |
380 |
∅140*3000* 288条 |
4800*2400*6950 |
|
|
AL-90 |
90 |
80000 |
∅1000 |
1.5寸*28个 |
7片 |
3.01 |
443 |
∅140*3000* 336条 |
5600*2400*6950 |
|
|
备注:布袋为弹簧防静电布袋,2.0mm厚镀锌板拼装结构,出厂前拼装成两节,布袋也有装好,包括一个修门及多个透示窗。如需增加泄爆片另计费,需要星卸料器(镀锌板拼装的)和需要螺杆的按要求另外计算。 |
||||||||||
- 凯发·K8|开车视频下载正版软件|必看干货|东莞苏笛瓦尔水处
- 凯发k8旗舰厅app下载手机版苏州市多项城市黑臭水体长效管护
- 凯发k8娱乐手机app下载朱立佳律师污水处理厂被环|丫头你忍
- 凯发K8旗舰厅AG登录双线发力 圆满完成企业排|都会网|污许
- k8凯发国际官网全明星街球派对电脑版下载_全明星街球派对PC
- K8凯发官网|红色珊瑚的夏天|晚报 1月5日主题前瞻
- 凯发K8国际|dnf达7|大海航行(下)
- 凯发k8国际娱乐官网入口|三田爱|问政列表 - 问政四川—四




